My Garage
Cart

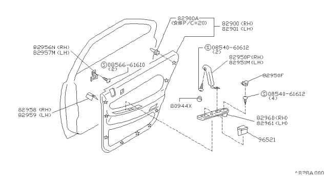
Rear Door Trimming fit your 1994 Nissan Maxima

Currently shopping for
1994 Nissan Maxima
Change Vehicle
Categories Close X

Currently selected

Other Categories

Axle & Suspension
Body (Front, Roof & Floor)
Body Electrical
Brake
Engine Electrical
Engine Mechanical
Exhaust & Cooling
Fuel & Engine Control
Miscellaneous
Power Train
Seat & Seat Belt
Steering
Categories Close X

Currently selected

Other Categories

Axle & Suspension
Body (Front, Roof & Floor)
Body Electrical
Brake
Engine Electrical
Engine Mechanical
Exhaust & Cooling
Fuel & Engine Control
Miscellaneous
Power Train
Seat & Seat Belt
Steering
Diagram (1 of 1): FED.S +CAL.S
1994 Nissan Maxima Rear Door Trimming Diagram
Enlarge Diagram
Sort by:
Part Description
Lookup Code
Part No. & Part Description
Price & Qty.
Part No. &
Part Description
Genuine Nissan Parts, the Right Choice
NissanPartsDeal.com offers the wholesale prices for genuine 1994 Nissan Maxima parts. Parts like Rear Door Trimming are shipped directly from authorized Nissan dealers and backed by the manufacturer's warranty. Parts fit for the following vehicle options. Engine: 6 Cyl 3.0L. Grade/Trim: GXE, SE.