My Garage
Cart

Torque Converter,Housing & Case fit your 2001 Nissan Pathfinder

Currently shopping for
2001 Nissan Pathfinder
Change Vehicle
9 diagrams found for the vehicle you selected.Select your vehicle options to narrow down results.
  • 1.(P/4WD+A/4WD).AT
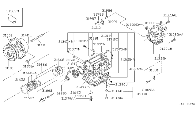
    2001 Nissan Pathfinder Torque Converter,Housing & Case Diagram 1
  • 2.2WD.AT
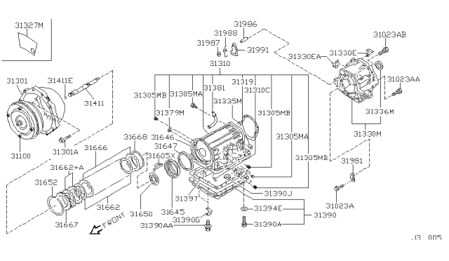
    2001 Nissan Pathfinder Torque Converter,Housing & Case Diagram 2
  • 3.2WD.VQ35DE.AT - (01/2000-07/2001)
    2001 Nissan Pathfinder Torque Converter,Housing & Case Diagram 3
  • 4.2WD.VQ35DE.AT - (07/2001-07/2002)
    2001 Nissan Pathfinder Torque Converter,Housing & Case Diagram 4
  • 5.A/4WD.AT
    2001 Nissan Pathfinder Torque Converter,Housing & Case Diagram 5
  • 6.P/4WD.AT
    2001 Nissan Pathfinder Torque Converter,Housing & Case Diagram 6
  • 7.P/4WD.AT +MT
    2001 Nissan Pathfinder Torque Converter,Housing & Case Diagram 7
  • 8.VG33E.AT - (05/2000-07/2001)
    2001 Nissan Pathfinder Torque Converter,Housing & Case Diagram 8
  • 9.VG33E.AT - (07/2001-07/2002)
    2001 Nissan Pathfinder Torque Converter,Housing & Case Diagram 9
Sort by:
Part Description
Lookup Code
Part No. & Part Description
Price & Qty.
Part No. &
Part Description
  • Bolt
    31023AA Nissan 31377-41X18
    31377-41X18
    Bolt
    • Fitting Vehicle Options: A/4WD. AT, P/4WD. AT
  • 31023AA Nissan 31377-41X19
    31377-41X19
    Bolt
    • Fitting Vehicle Options: 2WD. AT, 2WD. VQ35DE. AT, 2WD. VQ35DE. AT + VG33E. AT, VG33E. AT
    • Require Quantity: 03
    • Package Quantity: 1
  • 31301A Nissan 31309-X6600
    31309-X6600
    Bolt
    • Require Quantity: 10
    • Package Quantity: 1
    $10.13 $7.35
    1
    Add To Cart
  • 31390AA
    31377-41X06
    Bolt
    • Require Quantity: 18
    • Package Quantity: 1
    $2.38 $1.73
    1
    Add To Cart
  • Gasket-Extension
    31335
    31338-41X01
    Gasket-Extension
    • Fitting Vehicle Options: 2WD. AT
    • Replaced By: 31338-41X0A
    $27.48 $19.94
    1
    Add To Cart
  • 31335 Nissan 31338-41X02
    31338-41X02
    Gasket-Extension
    • Fitting Vehicle Options: 2WD. VQ35DE. AT, 2WD. VQ35DE. AT + VG33E. AT, VG33E. AT
    • Replaced By: 31338-41X0B
  • Magnet
    31390J
    31379-41X00
    Magnet
    • Fitting Vehicle Options: 2WD. VQ35DE. AT, A/4WD. AT, P/4WD. AT
    • Replaced By: 31379-3AX0A
    $14.03 $10.18
    1
    Add To Cart
  • 31390J
    31392-X5100
    Magnet
    • Fitting Vehicle Options: 2WD. AT, 2WD. VQ35DE. AT + VG33E. AT, A/4WD. AT, P/4WD. AT, VG33E. AT
    • Replaced By: 31379-3AX0A
    $14.03 $10.18
    1
    Add To Cart
  • Pan Assy-Oil
    31390
    31390-41X07
    Pan Assy-Oil
    • Fitting Vehicle Options: 2WD. AT, 2WD. VQ35DE. AT, 2WD. VQ35DE. AT + VG33E. AT, A/4WD. AT, P/4WD. AT, VG33E. AT
    $121.72 $86.18
    1
    Add To Cart
  • 31390 Nissan 31390-41X08
    31390-41X08
    Pan Assy-Oil
    • Fitting Vehicle Options: (P/4WD + A/4WD). AT, 2WD. VQ35DE. AT + VG33E. AT
    • Replaced By: 31390-41X07
    $121.72 $86.18
    1
    Add To Cart
  • Plate Assy-Drive
    31662 Nissan 31532-41X14
    31532-41X14
    Plate Assy-Drive
    • Fitting Vehicle Options: 2WD. VQ35DE. AT, A/4WD. AT, P/4WD. AT
    • Require Quantity: 03
    • Package Quantity: 1
  • 31662 Nissan 31532-41X69
    31532-41X69
    Plate Assy-Drive
    • Fitting Vehicle Options: 2WD. AT, P/4WD. AT, VG33E. AT
    • Require Quantity: 07
    • Package Quantity: 1
Genuine Nissan Parts, the Right Choice
NissanPartsDeal.com offers the wholesale prices for genuine 2001 Nissan Pathfinder parts. Parts like Torque Converter,Housing & Case are shipped directly from authorized Nissan dealers and backed by the manufacturer's warranty. Parts fit for the following vehicle options. Engine: 6 Cyl 3.3L, 6 Cyl 3.5L. Grade/Trim: LE, SE, XE.