My Garage
Cart

Sun Roof Parts fit your 2004 Nissan Sentra

Currently shopping for
2004 Nissan Sentra
Change Vehicle
Categories Close X
Categories Close X
2 diagrams found for the vehicle you selected.Select your vehicle options to narrow down results.
  • 1.4S - (07/2002-04/2003)
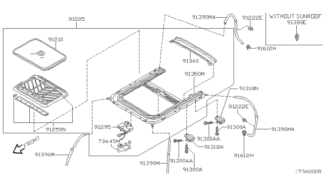
    2004 Nissan Sentra Sun Roof Parts Diagram 1
  • 2.4S - (from 04/2003)
    2004 Nissan Sentra Sun Roof Parts Diagram 2
Sort by:
Part Description
Lookup Code
Part No. & Part Description
Price & Qty.
Part No. &
Part Description
  • 91300A Nissan 73199-4M500
    73199-4M500
    Bolt
    • Require Quantity: 04
    • Package Quantity: 5
    • Replaced By: 73199-4M50A
    $3.35 $2.22
  • 91300AA Nissan 73199-4M500
    73199-4M500
    Bolt
    • Require Quantity: 04
    • Package Quantity: 5
    • Replaced By: 73199-4M50A
    $3.35 $2.22
  • 91222E Nissan 01552-01001
    01552-01001
    Clip
    • Interior Color: CHARCOAL <0403- >,STONE <0702-0403>
    • Require Quantity: 02
    • Package Quantity: 1
  • 91612H Nissan 74816-4Z010
    74816-4Z010
    Grommet
    • Interior Color: CHARCOAL <0403- >,STONE <0702-0403>
    • Require Quantity: 02
    • Package Quantity: 1
  • 91390M Nissan 91393-50J10
    91393-50J10
    Hose-Drain
    • Interior Color: CHARCOAL <0403- >,STONE <0702-0403>
    • Require Quantity: 02
    • Package Quantity: 1
    • Replaced By: (MultiSupersession)
  • Plug-Side Trim
    91380E Nissan 74816-4Z000
    74816-4Z000
    Plug-Side Trim
    • Interior Color: CHARCOAL <0403- >,STONE <0702-0403>
    • Fitting Vehicle Options: *4S. QR25DE + *4S. 1. 8S, 4S
    • Require Quantity: 02
    • Package Quantity: 1
  • 91380E Nissan 74816-4Z010
    74816-4Z010
    Plug-Side Trim
    • Fitting Vehicle Options: *4S. QR25DE + *4S. 1. 8S
    • Require Quantity: 02
    • Package Quantity: 1
Genuine Nissan Parts, the Right Choice
NissanPartsDeal.com offers the wholesale prices for genuine 2004 Nissan Sentra parts. Parts like Sun Roof Parts are shipped directly from authorized Nissan dealers and backed by the manufacturer's warranty. Parts fit for the following vehicle options. Engine: 4 Cyl 1.8L, 4 Cyl 2.0L, 4 Cyl 2.5L. Grade/Trim: 1.8, 1.8S, 2.5S, CA, GXE, LE, SE, SE-R, SE-R Spec V, XE.