My Garage
Cart

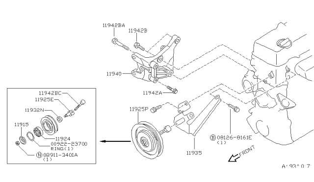
Power Steering Pump Mounting fit your 1997 Nissan Hardbody Pickup (D21U)

Currently shopping for
1997 Nissan Hardbody Pickup (D21U)
Change Vehicle
Categories Close X

Currently selected

Other Categories

Axle & Suspension
Body (Back Door & Rear Body)
Body (Front, Roof & Floor)
Body (Side & Rear)
Body Electrical
Brake
Engine Electrical
Engine Mechanical
Exhaust & Cooling
Fuel & Engine Control
Miscellaneous
Power Train
Seat & Seat Belt
Categories Close X

Currently selected

Other Categories

Axle & Suspension
Body (Back Door & Rear Body)
Body (Front, Roof & Floor)
Body (Side & Rear)
Body Electrical
Brake
Engine Electrical
Engine Mechanical
Exhaust & Cooling
Fuel & Engine Control
Miscellaneous
Power Train
Seat & Seat Belt
2 diagrams found for the vehicle you selected.Select your vehicle options to narrow down results.
  • 1.FED.HD +FED.KC.VG30E +CAL.HD +CAL.KC.VG30E
    1997 Nissan Hardbody Pickup (D21U) Power Steering Pump Mounting Diagram 1
  • 2.FED.T +FED.KC +CAL.T +CAL.KC,FED.T +FED.KC.KA24E +CAL.T +CAL.KC.KA24E
    1997 Nissan Hardbody Pickup (D21U) Power Steering Pump Mounting Diagram 2
Sort by:
Part Description
Lookup Code
Part No. & Part Description
Price & Qty.
Part No. &
Part Description
  • 11942A
    01121-00402
    Bolt
    • F/POWER STEERING
      F/POWER STEERING-INTEGRAL
    • Require Quantity: 02
    • Package Quantity: 1
    • Replaced By: 30223-E4100
    $11.98 $8.69
    1
    Add To Cart
  • Bolt
    11942B
    11928-12G01
    Bolt
    • Fitting Vehicle Options: FED. KC. VG30E + CAL. KC. VG30E
    $12.23 $8.87
    1
    Add To Cart
  • 11942B Nissan 11916-40F01
    11916-40F01
    Bolt
    • F/POWER STEERING
      F/POWER STEERING-INTEGRAL
    • Fitting Vehicle Options: *CAL. KC. 2WD. KA24E. MT. F5, *CAL. T. STD, *FED. T. 2WD. MT. F5 + *FED. KC. 2WD. KA24E. MT. F5 + *CAL. T. 2WD. MT. F5, *FED. T. 2WD. XE. MT. F5 + *FED. T. STD + *CAL. T. 2WD. XE. MT. F5, CAL. T. 4WD + CAL. T. AT. R4 + CAL. KC. 4WD. KA24E + CAL. KC. KA24E. AT. F4, FED. T. 4WD + FED. T. AT. F4 + FED. KC + CAL. T. 4WD + CAL. T. AT. F4 + CAL. KC, FED. T. 4WD + FED. T. AT. R4 + FED. KC. 4WD. KA24E + FED. KC. KA24E. AT. F4
    • Require Quantity: 02
    • Package Quantity: 1
    • Replaced By: 11916-40F0A
  • 11942BC
    11948-86G00
    Bolt
    • F/POWER STEERING-INTEGRAL
    • Replaced By: 11948-86G0A
    $8.53 $6.19
  • Bracket-Power Steering Oil Pump
    11940 Nissan 11940-12G00
    11940-12G00
    Bracket-Power Steering Oil Pump
    • Fitting Vehicle Options: FED. KC. VG30E + CAL. KC. VG30E
  • 11940 Nissan 11940-56G00
    11940-56G00
    Bracket-Power Steering Oil Pump
    • F/POWER STEERING
    • Fitting Vehicle Options: *CAL. KC. 2WD. KA24E. MT. F5, *FED. T. 2WD. MT. F5 + *FED. KC. 2WD. KA24E. MT. F5 + *CAL. T. 2WD. MT. F5, CAL. T. 4WD + CAL. T. AT. R4 + CAL. KC. 4WD. KA24E + CAL. KC. KA24E. AT. F4, FED. T. 4WD + FED. T. AT. R4 + FED. KC. 4WD. KA24E + FED. KC. KA24E. AT. F4
  • 11940 Nissan 11940-8B000
    11940-8B000
    Bracket-Power Steering Oil Pump
    • F/POWER STEERING-INTEGRAL
    • Fitting Vehicle Options: *CAL. T. STD, *FED. T. 2WD. XE. MT. F5 + *FED. T. STD + *CAL. T. 2WD. XE. MT. F5, FED. T. 4WD + FED. T. AT. F4 + FED. KC + CAL. T. 4WD + CAL. T. AT. F4 + CAL. KC
  • Shaft
    11925E
    11928-86G01
    Shaft
    • F/POWER STEERING-INTEGRAL
    • Fitting Vehicle Options: *CAL. T. STD, *FED. T. 2WD. XE. MT. F5 + *FED. T. STD + *CAL. T. 2WD. XE. MT. F5, FED. T. 4WD + FED. T. AT. F4 + FED. KC + CAL. T. 4WD + CAL. T. AT. F4 + CAL. KC
    • Replaced By: 11928-86G0C
  • 11925E Nissan 11928-86G00
    11928-86G00
    Shaft
    • F/POWER STEERING-INTEGRAL
    • Fitting Vehicle Options: *FED. T. 2WD. XE. MT. F5 + *FED. T. STD + *CAL. T. 2WD. XE. MT. F5, FED. T. 4WD + FED. T. AT. F4 + FED. KC + CAL. T. 4WD + CAL. T. AT. F4 + CAL. KC
    • Replaced By: 11928-86G0A
Genuine Nissan Parts, the Right Choice
NissanPartsDeal.com offers the wholesale prices for genuine 1997 Nissan Hardbody Pickup (D21U) parts. Parts like Power Steering Pump Mounting are shipped directly from authorized Nissan dealers and backed by the manufacturer's warranty. Parts fit for the following vehicle options. Engine: 4 Cyl 2.4L, 6 Cyl 3.0L. Grade/Trim: Long Body SE, Long Body XE, SE, STD, Short Body XE, XE.